Пн-Пт: с 10:00 до 19:00
Сб-Вс: выходной
г. Москва,
Коровинское шоссе, д.1А
Корзина 0 Товаров
Интернет-магазин мотозапчастей

Запчасти для снегоходов Lynx (Bombardier) 2011 YETI 550


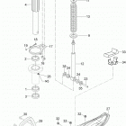
Картер 552

01- Crankshaft 552

Цилиндр и головка цилиндров

Двигатель и крепление

01- Fan Housing

Глушитель

Топливная система

Воздухоочиститель

Маслянный насос

Масляная система

Карбюратор

03- Magneto 552

Ручной стартер

04- Electric Starter 552

05- Drive Pulley 593

Привод трака и трак

Трансмиссия

Защита ремня вариатора

Ведомый шкив

Тормоза

06- Electrical Accessories

07- Steering System WT

Передняя подвеска и лыжи

Задняя подвеска

08- Electric Starter 552

Багажник задний

Капот

Комплектующие изделия

Сидение

Рама

Защита и бампер

Наклейки

Проводака на руле
 
Бесплатная консультация по подбору запчастей!

Поможем подобрать

  • Комплектующие
  • Аналоги
  • Вариант доставки
Бесплатный подбор запчастей
Бесплатный подбор запчастей Наши консультанты помогут подобрать оригинальную запчасть или аналог, подберут вариант доставки
Самые выгодные цены
Самые выгодные цены Мы официальные дилеры производителей и можем поддерживать низкие цены
Гигантский ассортимент
Гигантский ассортимент Если Вы не нашли интересующую Вас деталь, позвоните - мы привезем ее на заказ!
Гарантия, удобный возврат
Гарантия, удобный возврат На все запчасти действует гарантия производителя. Возврат в течение 14 дней
14
лет
на рынке
10356
проданных
запчастей в месяц
19
брендов
партнеров
16500
товаров
в магазине