Пн-Пт: с 10:00 до 19:00
Сб-Вс: выходной
г. Москва,
Коровинское шоссе, д.1А
Корзина 0 Товаров
Интернет-магазин мотозапчастей

Каталог оригинальных запчастей для лодочных моторов Evinrude 1994 E40EERE


Carburetor - all 40 models

Ignition system - electric start 40-50te - 40ttl models

Carburetor - all 50 models

Ignition system - electric start and tl models only

Коленчатый вал & Поршень

ВПУСКНОЙ КОЛЛЕКТОР

Цилиндр & Картер

Водомет

Электрический стартер

Literature

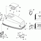
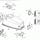
Engine cover - evinrude 40

Нижний кожух двигателя

Engine cover - evinrude 50

Цвет покраски

Engine cover - evinrude rope start only

Power trim / tilt

Engine cover - johnson 40

Power trim / tilt electrical - 40ttl only

Engine cover - johnson 50

Primer system - electric start

Engine cover - johnson rope start only

Primer system - manual start

Корпус глушителя и струпцины крепления

Remote tilt switch kit - 40ttl only

ТОПЛИВНЫЙ НАСОС

Ручной стартер

Топливный насос и фильтр

Shift & throttle linkage

ТОПЛИВНЫЙ БАК

Shift & throttle linkage (continued)

Редуктор

Steering and shift handle

Ignition switch & cable - 40te, 40ttl

Комплект Тяги рулевого механизма

Ignition system - 40 rope start

Цилиндр наклона

Ignition system - 40-50 electric start el and tl models

Transom mount kit
 
Бесплатная консультация по подбору запчастей!

Поможем подобрать

  • Комплектующие
  • Аналоги
  • Вариант доставки
Бесплатный подбор запчастей
Бесплатный подбор запчастей Наши консультанты помогут подобрать оригинальную запчасть или аналог, подберут вариант доставки
Самые выгодные цены
Самые выгодные цены Мы официальные дилеры производителей и можем поддерживать низкие цены
Гигантский ассортимент
Гигантский ассортимент Если Вы не нашли интересующую Вас деталь, позвоните - мы привезем ее на заказ!
Гарантия, удобный возврат
Гарантия, удобный возврат На все запчасти действует гарантия производителя. Возврат в течение 14 дней
14
лет
на рынке
10356
проданных
запчастей в месяц
19
брендов
партнеров
16500
товаров
в магазине