Пн-Пт: с 10:00 до 19:00
Сб-Вс: выходной
г. Москва,
Коровинское шоссе, д.1А
Корзина 0 Товаров
Интернет-магазин мотозапчастей

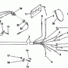
Vro2 pump для Evinrude 1988 E140TLCCM

Каталог несет в первую очередь справочную информацию, поэтому обращаем ваше внимание, что наличие деталей в каталоге не означает ее наличие на нашем складе.
Все детали поставляются только под заказ. Срок исполнения заказа 12-15 рабочих дней.
№ рис. Деталь Наличие Цена В корзину
1 0315391
Plug, Pump Hsg
Под заказ 217.80р
2 0320107
Стяжка (отпускается по 100 шт)
Под заказ 41.80р
3 0332246
Уплотнитель резиновый
Под заказ 5'161.20р
5 0911616
Snap Clamp # 10
Под заказ 437.80р
6 0331623
Sight Tube
Под заказ 2'670.80р
7 0322652
Snap Clamp #8 25pk
Под заказ 437.80р
9 0322654
Snap Clamp #6 25pk
Под заказ 217.80р
11 0398319
Fuel Fltr 3/8
Под заказ 1'977.80р
14 5007423
Kit Ay, F Pump&lmtr
Под заказ 112'241.80р
15 0341083
Крепление
Под заказ 7'693.40р
16 0308825
Винт
Под заказ 1'344.20р
17 0328735
Шайба
Под заказ 1'097.80р
18 0122147
Винт
Под заказ 1'344.20р
20 0329661
Plug Holder
Под заказ 1'097.80р
21 0333633
Шланг
Под заказ 3'590.40р
22 0512742
Седло
Под заказ 1'344.20р
23 0329653
Snap Clmp #14 25pk
Под заказ 217.80р
24 0332245
Connector Fuel
Под заказ 1'980.00р
26 0331649
Заглушка
Под заказ 222.20р
27 0393334
Fuel Conn. Body Ay
Под заказ 11'222.20р
28 0322652
Snap Clamp #8 25pk
Под заказ 437.80р
29 0332732
Fuel Hose
Под заказ 11'446.60р
30 0982115
Clamp-return Line
Под заказ 657.80р
398339 0398339
Conn. & Hose Ay ( Optional)
Под заказ 20'427.00р



Другие

Carburetor and linkage

Коленчатый вал & Поршень

Цилиндр & Картер

Капот

Капот

ТОПЛИВНЫЙ БАК

Gearcase - 120tl & tx/140 tl

Gearcase - 140cx counter rotation

Gearcase - 140tx standard rotation

Ignition system & starter motor

ВПУСКНОЙ КОЛЛЕКТОР

Нижний кожух двигателя

Струбцина

Paint chart

Power trim/tilt electrical

Гидроподъем

МАШИНКА ДИСТАНЦИОННОЕ УПРАВЛЕНИЕ

Remote control assembly - binnacle mount, dual lever

Рулевая тяга

Vro oil tank kit-1.8 gallon

Vro2 pump

Wiring kit - dual engine
 
Бесплатная консультация по подбору запчастей!

Поможем подобрать

  • Комплектующие
  • Аналоги
  • Вариант доставки
Бесплатный подбор запчастей
Бесплатный подбор запчастей Наши консультанты помогут подобрать оригинальную запчасть или аналог, подберут вариант доставки
Самые выгодные цены
Самые выгодные цены Мы официальные дилеры производителей и можем поддерживать низкие цены
Гигантский ассортимент
Гигантский ассортимент Если Вы не нашли интересующую Вас деталь, позвоните - мы привезем ее на заказ!
Гарантия, удобный возврат
Гарантия, удобный возврат На все запчасти действует гарантия производителя. Возврат в течение 14 дней
14
лет
на рынке
10356
проданных
запчастей в месяц
19
брендов
партнеров
16500
товаров
в магазине