Пн-Пт: с 10:00 до 19:00
Сб-Вс: выходной
г. Москва,
Коровинское шоссе, д.1А
Корзина 0 Товаров
Интернет-магазин мотозапчастей

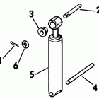
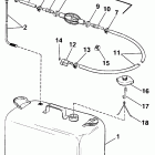
Intake manifold and primer system для Evinrude 1988 E40TECCS

Каталог несет в первую очередь справочную информацию, поэтому обращаем ваше внимание, что наличие деталей в каталоге не означает ее наличие на нашем складе.
Все детали поставляются только под заказ. Срок исполнения заказа 12-15 рабочих дней.
№ рис. Деталь Наличие Цена В корзину
1 0434695
Kit Ay, Air Sil Cov
Под заказ 14'853.80р
1 0329396
Крышка
Под заказ 41'119.00р
2 0306409
Винт
Под заказ 1'297.40р
3 0335633
Gasket, Reed Box
Под заказ 2'337.40р
6 0306474
Винт
Под заказ 2'857.40р
7 0389810
Leaf Plate Ay
Под заказ 32'276.40р
7 0395442
Leaf Plate Ay
Под заказ 33'576.40р
8 0327074
Винт
Под заказ 777.40р
9 0323601
Leaf Stop
Под заказ 2'649.40р
10 0317739
Leaf Valve
Под заказ 3'637.40р
10 0308947
Клапан
Под заказ 5'623.80р
11 0323412
Shim-leaf Valve
Под заказ 1'058.20р
12 0328694
Винт
Под заказ 1'557.40р
13 0328735
Шайба
Под заказ 1'297.40р
14 0329418
Lever-throttle
Под заказ 4'243.20р
15 0318165
Седло
Под заказ 1'588.60р
16 0320276
Anchor Block
Под заказ 6'492.20р
17 0319967
Retainer Trunnion
Под заказ 2'649.40р
18 0303701
Стопорная шайба
Под заказ 793.00р
19 0391780
Intake M-fold
Под заказ 33'800.00р
19 0395736
 
Под заказ --  
20 0314497
Шпилька
Под заказ 1'297.40р
21 0325659
Ниппель
Под заказ 2'119.00р
22 0333522
Основа
Под заказ 32'058.00р
22 0431994
Base&nipple
Под заказ 27'302.60р
24 0325092
Gasket 5pk
Под заказ 517.40р
25 0316355
Гайка
Под заказ 1'037.40р
26 0332226
Винт
Под заказ 1'297.40р
26 0333706
Винт
Под заказ 1'037.40р
27 0328724
Винт
Под заказ 2'119.00р
28 0328714
Винт
Под заказ 777.40р
31 0326031
Ниппель
Под заказ 5'304.00р
32 0313537
Tee
Под заказ 1'557.40р
33 0320107
Стяжка (отпускается по 100 шт)
Под заказ 49.40р
34 0310598
Nut ( Te Models)
Под заказ 2'119.00р
35 0310441
J-clamp
Под заказ 413.40р
36 0583927
( Te Models)
Под заказ --  
37 0511829
Ring Terminal ( Te Models)
Под заказ 156.00р
38 0587056
Cover&contact Ay ( Te Models)
Под заказ 5'304.00р
39 0306418
Винт
Под заказ 1'588.60р
40 0330910
Gasket, Silncr-carb
Под заказ 777.40р
41 0330909
Gasket, Air Box
Под заказ 2'857.40р
41 0330698
Gasket, Cvr-air Box
Под заказ 2'337.40р
42 0329888
Link
Под заказ 1'557.40р



Другие

Карбюратор

Коленчатый вал & Поршень

Цилиндр & Картер

Электрический стартер

Капот

Engine cover - evinrude rope start only

Капот

Engine cover - johnson rope start only

Топливный насос и фильтр

ТОПЛИВНЫЙ БАК

Fuel tank without gauge

Gearcase - 40ar, 40ae, 40at models only

Gearcase-all models except 40ar, 40ae, 40at

Система зажигания

Intake manifold and primer system

Нижний кожух двигателя

Струбцина

Paint chart

Power trim and tilt

Primer system

Primer system - manual start

МАШИНКА ДИСТАНЦИОННОЕ УПРАВЛЕНИЕ

Ручной стартер

Shift & throttle linkage tiller electric, rope models

Рулевая тяга

Румпель

Tilt aid cylinder

Transom mount kit - rope start only

Vro oil tank kit-1.8 gallon

Vro2 pump
Бесплатная консультация по подбору запчастей!

Поможем подобрать

  • Комплектующие
  • Аналоги
  • Вариант доставки
Бесплатный подбор запчастей
Бесплатный подбор запчастей Наши консультанты помогут подобрать оригинальную запчасть или аналог, подберут вариант доставки
Самые выгодные цены
Самые выгодные цены Мы официальные дилеры производителей и можем поддерживать низкие цены
Гигантский ассортимент
Гигантский ассортимент Если Вы не нашли интересующую Вас деталь, позвоните - мы привезем ее на заказ!
Гарантия, удобный возврат
Гарантия, удобный возврат На все запчасти действует гарантия производителя. Возврат в течение 14 дней
14
лет
на рынке
10356
проданных
запчастей в месяц
19
брендов
партнеров
16500
товаров
в магазине